Interesante patente para nuevos teclados de BlackBerry

26 de diciembre de 2007

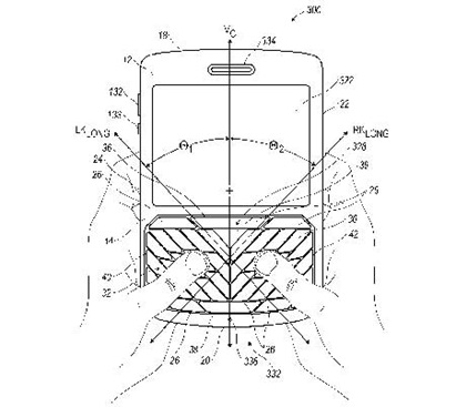
Patente blackberry teclado

RIM (la empresa que fabrica las BlackBerry) ha patentado un nuevo e interesante diseño de teclado para sus exitosas smartphones. La gracia de este novedoso teclado es que incorporaría teclas angulares (como se ve en la imagen) lo cual debería hacer que ingresar texto fuera más fácil y cómodo. Y el espacio triangular que queda entre ambos lados del teclado serviría para incluir una especie de scrollbar o touchpad. Pero lo que más llama la atención es que la patente también menciona a las pantallas táctiles. ¿Quiere decir eso que pronto veremos una BlackBerry con un teclado virtual al estilo iPhone pero con teclas diagonales? Sólo el tiempo y los rumores lo dirán.Patente Blackberry teclado 2

Vía Noticiastech || Relacionados:  Nokia patenta un interesante celular con triple teclado deslizante | LG Viewty: La pesadilla del iPhone en el Reino Unido

Tal vez te interese...